Pernos de brida de acero inoxidable
1.GB 5789 Pernos de brida de cabeza hexagonal-Serie pesada-Producto Grado B
2. Fabricante de pernos de origen, fábrica propia: con ventaja de precio, eliminando la diferencia de precio de los intermediarios.
3. Adopte el acero engrosado de alta calidad superior de la industria, alta estabilidad y durabilidad duradera.
4. Admite la personalización del cliente.
5. Servicio profesional de ventas y postventa, bienvenido a consultar en cualquier momento.
6. Entrega a tiempo.
Todo lo que necesita saber sobre los pernos de brida de acero inoxidable
Cuando se trata de sistemas de fijación que exigen fuerza, resistencia a la corrosión e integridad estructural,Pernos de brida de acero inoxidableemergen como una opción de primer nivel. Utilizados en industrias que van desde la automotriz hasta la ingeniería marina, estos pernos ofrecen durabilidad y alto rendimiento incluso en los entornos más hostiles. En este artículo, nos sumergimos en las características, beneficios, aplicaciones y criterios de selección dePernos de brida de acero inoxidable, que proporciona una guía completa para ingenieros, constructores y especialistas en adquisiciones.
¿Qué son los pernos de brida de acero inoxidable?
Pernos de brida de acero inoxidableson pernos de cabeza hexagonal con una brida integrada en la base de la cabeza. Esta brida incorporada en forma de arandela distribuye la carga sobre un área más amplia, lo que reduce la posibilidad de daños a los materiales conectados y elimina la necesidad de arandelas separadas. Fabricados a partir de aleaciones de acero inoxidable como 304 o 316, estos pernos son conocidos por su resistencia a la corrosión, lo que los hace ideales para aplicaciones marinas y al aire libre.
Características clave de los pernos de brida de acero inoxidable
Resistencia a la corrosión
Gracias a la composición rica en cromo,Pernos de brida de acero inoxidableResiste el óxido y la corrosión, incluso en agua salada o entornos químicos.Brida integrada
La brida mejora la distribución de la carga, evita el aflojamiento y mejora la estabilidad general de la junta.Resistencia y durabilidad
Estos pernos están hechos para soportar tensiones mecánicas, lo que los hace adecuados para aplicaciones de alta vibración o alta carga.Apariencia estética
El aspecto limpio y pulido dePernos de brida de acero inoxidableEs ideal para aplicaciones expuestas donde la apariencia importa.Bajo mantenimiento
Una vez instalados, los pernos de acero inoxidable requieren un mantenimiento mínimo, lo que reduce los costos a largo plazo.
Grados comunes de pernos de brida de acero inoxidable
Acero inoxidable 304: Ofrece una excelente resistencia a la corrosión y es la opción más común para uso general.
Acero inoxidable 316: Contiene molibdeno para una resistencia superior a la corrosión por cloruro, lo que lo hace ideal para entornos marinos y químicos.
Acero inoxidable 410: Conocido por su alta dureza y moderada resistencia a la corrosión, adecuado para aplicaciones que requieren más resistencia al desgaste.
Ventajas de los pernos de brida de acero inoxidable
No hay necesidad de arandelas adicionales
Soporta temperaturas extremas
Mantener la integridad estructural a lo largo del tiempo
Compatible con varios materiales, incluidos aluminio, plástico y acero
Cumple con ASTM, DIN, ISO y otras normas globales
Mediante el uso dePernos de brida de acero inoxidable, las industrias pueden aumentar la confiabilidad del ensamblaje al tiempo que reducen las fallas de los componentes y las necesidades de mantenimiento.
Aplicaciones de los pernos de brida de acero inoxidable
Pernos de brida de acero inoxidablese utilizan en una amplia gama de industrias:
Automotor: Conjuntos de motores, sistemas de suspensión y colectores de escape
Marino: Cascos de barcos, componentes de muelles y accesorios de barcos
Construcción: Puentes, barandillas y armazones metálicos al aire libre
Maquinaria Industrial: Carcasa de equipos, sistemas de presión y conjuntos giratorios
Mejoras para el hogar: Muebles de exterior, pérgolas y marcos de cubierta
Estos pernos son especialmente valiosos cuando la exposición a la humedad, los productos químicos o el clima extremo es común.
Cómo seleccionar los pernos de brida de acero inoxidable correctos
Elegir el correctoPernos de brida de acero inoxidableimplica evaluar:
Tamaño del perno y paso de rosca: Coincide con su configuración de articulación específica
Tipo de brida: Dentado para anti-aflojamiento, liso para la protección de la superficie
Grado de acero inoxidable: Depende de la exposición ambiental y de los requisitos mecánicos
Resistencia a la tracción: Asegúrese de que cumple con las demandas de estrés de la aplicación
Certificaciones: Busque el cumplimiento de ASTM A193, ISO 7380 o equivalente
Trabajar con un fabricante o proveedor de confianza garantiza que los pernos cumplan con las especificaciones requeridas de rendimiento y seguridad.
Consejos de instalación
Utilice una llave dinamométrica calibrada para evitar apretar demasiado
Limpie las roscas y las superficies para evitar que se agarroten
Para aplicaciones de alta vibración, considere agregar un compuesto de bloqueo de roscas
Aplique lubricante antiadherente para pernos utilizados en entornos corrosivos o de alta temperatura
La instalación adecuada garantiza la fiabilidad y la seguridad a largo plazo de laPernos de brida de acero inoxidableen funcionamiento.
Conclusión
Pernos de brida de acero inoxidableson una solución robusta, confiable y resistente a la corrosión para los desafíos de fijación en entornos exigentes. Su diseño de brida integrada reduce la complejidad del ensamblaje al tiempo que aumenta la capacidad de carga y la resistencia a las vibraciones. Ya sea que esté construyendo infraestructura marina, equipos industriales o estructuras al aire libre,Pernos de brida de acero inoxidableProporcionan el rendimiento y la durabilidad necesarios para las aplicaciones de misión crítica.



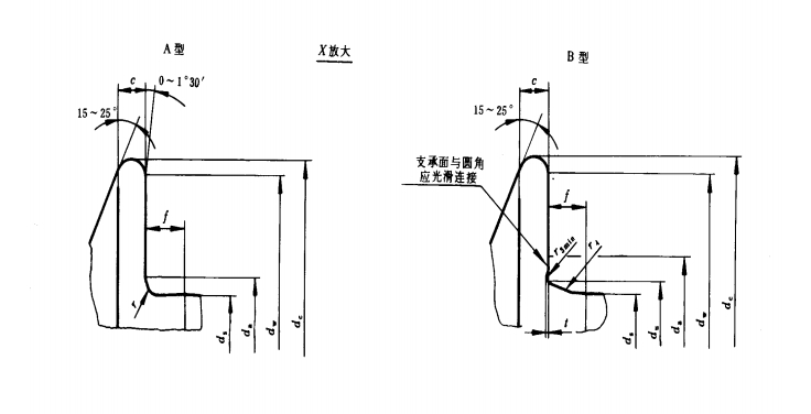
Dibujo del producto



